一、工程概況:
高線主廠房位于原舊制氧廠房以西,舊高線廠房以東。寬27米,長384米,大跨度鋼結構框架結構。新建廠房柱利用舊廠房柱加固做為新建廠房邊柱,施工難度較大。混凝土標號為C30,軋鋼基礎埋件數量多(3000余條),螺栓安裝精度要求高,施工難度較大。
2、 主要項目工程量一覽表:
|
挖土方(m3)
|
回填土(m3)
|
鋼筋(T)
|
混凝土(m3)
|
|
45000
|
20000
|
2000
|
13000
|
二、編制依據:
1)《邯鄲圣凱軋鋼工程技術咨詢公司高線施工圖》和現場實際情況。
2)《建筑施工手冊》(第四版)
3)《建筑地基基礎工程施工質量驗收規范》(GB50202-2002)4)《混凝土結構工程施工質量驗收規范》(GB50204-2002)5)《地下防水工程質量驗收規范》(GB50208-2002)6)《建筑工程質量驗收統一標準》(GB50300-2001)7)《建筑基坑工程技術規范》(YB9258-97)
8)《冶金建筑工程質量檢驗評定標準》(YBJ232-91)三、施工組織和準備:
1、盡快熟悉圖紙和相關標準、規范,熟悉施工現場情況,了解水文地質情況和當地天氣變化情況。精心組織,合理安排施工工序,準確測量定位,嚴格控制施工質量。
2、積極組織材料、設備貨源,早聯系早準備。根據施工進度計劃,現場所需的各種材料、成品、半成品、周轉料具、機械設備等及時到位。
3、合理組織勞動力,安排好勞動力進場的時間、順序和生活設施。
4、根據施工現場情況,合理布置水、電、道路系統。
5、平整施工場地,清除現場障礙物。土方開挖范圍內的各種電纜、配電箱、水管、以及其它設備、設施、材料要由各相關單位清理干凈。
6、根據降水方案,對于須井點降水的基礎提前進行降水工作。
7、制定安全、質量、文明施工措施。對進場人員進行培訓教育。
8、作好測量控制網。挖土范圍內原有的控制樁要引測到基坑范圍以外,同時根據工程需要,作好新的控制網,以便控制基線、軸線、標高控制點,并校核無誤。
9、攪拌站一定要滿足現場要求,作好攪拌站的各種設備、泵罐車的維修工作、保養工作。
10、此廠房基礎在工程總部署上是敞開式施工,為保證這一總體部署實現,與設備基礎有關工程采取以下程序施工:
與設備基礎相臨近的柱基采取同時開挖和施工,以避免二次土方挖填和降水。
11、施工順序:
基礎放線定位→開挖基礎土方.地基處理→澆筑砼墊層→安裝部分基礎外模板→安裝基礎底板鋼筋→安設地腳螺栓固定架.→安裝剩余外模板→安裝內部模板→調整、校正、固定地腳螺栓安裝基礎頂面鋼筋及其余模板→澆筑基礎砼插二次灌漿→養護拆模→基礎面打毛清理刷純水泥漿→二次澆灌砼→拆模養護處理對拉螺栓防腐處理→回填土。
四、主要施工方法:
1、測量定位放線
根據總控制網,引測出受料槽的定位軸線和高程點。在受料槽外側10米左右,埋設混凝土標記樁。標記樁的做法:樁應埋設在冰凍線以下,深度為800mm,露出地面200mm,直徑400mm。如下圖所示。標記樁的埋設要考慮既能通視,又方便引測,并設圍欄和警示標志。施工過程中要仔細保護點位。

2、土方工程
A:土方開挖
(1)根據現有的到圖情況及施工工序要求,土方可以根據施工縫進行分段開挖。開挖完一個段,立即進行施工。土方采用1.0 m3液壓反鏟挖掘機挖土,自卸汽車運輸。挖出土方卸至臨時堆土場,以備回填使用。渣土、建筑垃圾、應及時運出廠外,保證現場整潔。
(2)為防止地基土受擾動,基槽開挖予留100~150mm厚土方進行人工清底。人工清底要配合機械挖土同時進行,每臺挖掘機每班配備5-10人,隨時配合清槽、修邊,將土送至挖土機的操作半徑范圍內。
(3)基槽考慮降水排水,工作面每邊出基礎外1米,土方放坡系數為1:1。
(4)基坑四周不得任意堆放材料,基坑邊2m內禁止行駛汽車。開挖完畢,在基槽周圍設防護欄桿,距基槽邊1.0m,高1.2m。并設明顯的警示標志。每施工段在基坑內設置一條臨時上下施工扶梯。
(5)基槽開挖完畢,立即組織有關單位進行驗槽。驗槽合格后立即進行下一道工序。
(6)基礎拆模完畢,經有關人員驗收合格后方可回填。
B:土方回填
(1)回填土使用土夾石回填,回填時應適當控制其含水量,以手握成團、落地松散為宜,若土料水分過多或不足,應晾干或灑水濕潤。底部使用蛙式打夯機或錘式打夯機分層夯實,每層虛鋪厚度小于250mm。上部機械可以行走時,用振動式壓路機碾壓,分層回填。
(2)每層回填完畢,必須經檢查驗收合格后方可進行上一層回填。
4、砼墊層施工
1) 基礎墊層施工前應驗槽,并及時清理圍護墻墻面,分段澆筑。
2) 為控制基礎墊層的標高,每4 平方米內設一標高控制點。
3) 砼由罐車運輸,溜槽或泵車澆筑。
4) 在基礎墊層施工時,應采用排水措施,使基坑保持干燥狀態。
5、鋼筋工程
(1)進場鋼筋必須有出廠合格證,并及時按規范要求抽樣送試驗室復檢。復檢合格后方可使用。
(2)進場鋼筋按工號需要,運至各加工場。鋼材原材料、成型鋼筋,應掛銘牌,標明鋼筋型號、產地、規格、數量、所用工程等。鋼筋堆放必須用木方墊離地面100mm高。并備好塑料布,雨、雪天應及時覆蓋。
(3)鋼筋的連接:水平鋼筋:Φ16以上鋼筋的接頭采用閃光對焊,Φ16以下鋼筋采用搭接接頭;焊接頭應按規范規定抽樣送檢(每300頭為一組),合格后方可大批焊接。
(4)鋼筋的綁扎接頭、焊接接頭的位置及數量,必須符合施工規范要求,綁扎接頭在同一截面的數量受拉區為25%,受壓區為50%。焊接接頭在同一截面的數量受拉區為50%,受壓區不受限制。本工程底板,頂板、側墻均按受拉區考慮。
(5)焊工必須有焊工考試合格證,并在規定的范圍內進行焊接操作。
(6)為了保證側壁鋼筋雙層網片位置的準確,在垂直于兩層網片的方向設置Φ18橫撐立架,間距為1500mm與墻體鋼筋網片焊牢。

(7)墻壁和底、頂板鋼筋綁扎時,其外側鋼筋不得緊貼在一起,而應互相以給定間距的半值錯開,其端部則增加一根鋼筋。如下圖所示:

(8)墻體保護層厚度通過采用墊塊及定距框來控制鋼筋的保護層的厚度,以達到設計和規范要求,見下圖:

(9) 鋼筋綁扎前,核對成品鋼筋的規格、形狀、數量等與設計是否相符,若不相符,應及時糾正增補。鋼筋網的綁扎,四周兩行鋼筋交叉點應每點綁扎,中間部分交叉點呈梅花型相隔交錯綁扎牢固,但保證受力鋼筋不移動。雙向主筋的鋼筋,須將交叉點全部扎牢,綁扎時綁扎點鐵絲扣要成八字形,以免網片歪曲變形。
(10)側墻豎向鋼筋應用墊塊墊離地面,禁止將鋼筋直接放于地上或用短鋼筋頭做墊塊。
(11)鋼筋綁扎成型后,各工種操作人員不準隨意踩踏鋼筋,尤其是負筋部位、預應力筋及各種水電預埋管線部位。
(12)底板埋件安裝時雙側拉線控制其位置和標高,就位準確后與底板主筋點焊在一起予埋鐵件要緊貼模板,加固方式見下圖所示:

側墻預埋件面積較小時,在鐵件鉆孔,用普通鐵釘釘在鑲拼木模板上固定(見下圖a:用鐵釘固定預埋件),或用螺栓固定在鋼模板上(見下圖b:用螺栓固定預埋件)。

(a)用鐵釘固定預埋件;(b)用螺栓固定預埋件
1-鋼模板;2-木模板;3-預埋件;4-圓釘;5-固定螺栓(13)為防止澆注頂板混凝土時污染墻體鋼筋,用泡沫條或塑料套管保護。
(14)鋼筋位置允許偏差:
|
序號
|
項 目
|
允許偏差(mm)
|
|
|
1
|
受力鋼筋排距
|
±5
|
|
|
2
|
箍筋、橫向鋼筋間距
|
綁扎鋼筋
|
±20
|
|
3
|
焊接予埋件
|
中心線位置
|
5
|
|
水平高差
|
+3 0
|
||
|
4
|
受力鋼筋保護層
|
基 礎
|
±10
|
|
板、墻、殼
|
±3
|
||
6、模板工程
(1)模板采用12mm厚素面多層板或覆膜多層板支設。
(2) 支設好的模板必須有足夠的剛度和穩定性,并且接縫嚴密,就位準確,支設牢固,保證不發生變形和位移。
(3)為了提高模板的剛度及穩定性,木模板采用,φ48×3.5鋼管楞,對拉螺栓固定。對拉螺栓采用?12圓鋼,對拉螺栓水平間距500mm,豎向間距500mm。模板接縫處用雙面膠條封閉。見圖。

(4)為保證模板的整體穩定性,采用內外拉撐的方法。為防止澆筑砼時底部漲模,要求在模板底部五層對拉螺栓(總高約3000mm)上加雙螺帽。
(6)模板平整度控制:為保證模板順直,模板必須拉線校直。模板支設完畢后,必須檢查立模垂直度,上口模板拉通線檢查是否順直、固定是否牢固、截面尺寸是否滿足規范要求。澆筑過程中,隨時檢查模板有無變形走位,及時進行調整。
(7)拆模后將螺栓外露部分割除,刷防銹漆兩遍。鐵件外露面刷防銹漆兩遍。
(8)伸縮縫處設置橡膠止水帶, 止水帶的固定及伸縮縫處的鋼筋如下所示:

(9)側墻和底板交接處容易產生掛漿現象,避免措施:在接縫處貼雙面海綿膠條,防止發生漏漿。

(10)模板拆除
①.側模在砼強度能保證其表面及棱角不因拆除模板而損壞,方可拆除。
②.底模必須待強度達到下表要求方可拆除。
|
結 構
類 型
|
跨 度(m)
|
砼達到設計
強度
|
日平均氣溫20℃時所需時間(天)
|
|
板
|
≤2
2~8
≥8
|
50%
75%
100%
|
10
15
28
|
|
梁
|
<8
≥8
|
75%
100%
|
15
28
|
7、埋件工程:
固定鋼板埋件用12#槽鋼作固定架,施工基礎時預先埋設埋件,固定槽鋼。M2的槽鋼固定架間距800。M3的槽鋼固定架間距500。埋件固定圖如下:
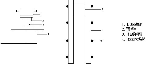
8、基礎埋件:
利用鋼筋馬凳加固預埋件。做2根Φ18,長800的鋼筋與馬凳連接。再用水準儀準確測設埋件頂標高。在800長的鋼筋上標志。焊∟50*5的通長角鋼,將埋件與通長鋼筋點焊。點焊前,準確測量埋件頂標高,標高只允許負公差,澆筑砼時,嚴禁踩踏埋件和連接鋼筋。

9、地腳螺栓埋設:
a、基礎±0.000以下螺栓的固定,用12#槽鋼焊接螺栓固定架。

b、螺栓預留孔用3mm厚的鋼板焊接內孔代替模板中間穿錨筋。200*200*900的鋼板孔28個,140*140*600的鋼板孔6個。做法見下圖:

10、砼工程
(1)本工程砼全部由攪拌站集中攪拌,罐車運輸,泵車或溜槽澆筑。
(2)選材要求:根據本地砂、石供應情況,選用中砂,石子粒徑選用16~31.5mm。所含泥塊不得呈塊狀包裹石子。砂石含泥量不大于3%。石子的吸水率不大于1.5%。攪拌混凝土用水中不得含有油脂、糖類等有害雜質,采用一般飲用水或天然潔凈水。砼使用的砂、石、水泥、外加劑經取樣化驗合格后方可使用,配合比須試驗確定。
(3)砼運輸:攪拌好的砼在運輸過程中要防止產生離析現象以及坍落度損失,應在砼初凝前澆筑完畢,若停置時間較長產生離析,應重新檢驗其坍落度,若不滿足要求應加入相同的水灰比的水泥漿復拌均勻澆筑,否則會降低砼澆筑質量,對結構造成不利的影響。
(4)澆注前應檢查模板的堅固性、穩定性,使模板所有接縫嚴密,不得漏漿,并將模板及與砼接觸的表面先行濕潤。
(5)嚴格掌握砼配合比,并依據施工現場情況的變化及時正確調整。雨季施工注意測定砂石含水率,及時調整配合比的用水量。
(6)砼連續澆筑
a、砼應連續澆筑。運輸的時間間隔不應超過1.5h。
b、底板采用整體推進(斜面分層)澆筑法,每層澆灌厚度500mm。底板澆筑時每往前推10m,即應回頭將側墻施工縫以下部分砼澆筑完畢。
c、運距較遠時可在砼中摻入適量緩凝劑,以保持砼的流動性。砼澆筑時間間隔不應超過2h,否則應事先考慮設置施工縫。
(7)側墻混凝土澆筑方式:側墻澆筑總高度為12.34米,分兩次澆筑。砼施工時采用分層澆筑法,循環往復澆筑,每層澆灌厚度500mm。混凝土在豎向結構中的澆筑高度超過3米時,應設置串筒進行澆筑。制作4個3000mm高串筒。砼連續澆筑(8)混凝土澆筑時采用插入式振搗器振搗,振點間距500 mm,振搗時間以表面開始泛漿,不冒泡為準。要求插入下層深度不小于50mm,并不得漏振、欠振,振動棒使用時不允許將其支撐在鋼筋上,振動時不宜緊靠模板振動。
(9)混凝土澆筑時,要設專人觀察鋼管及模板加固情況,若有松動現象,應暫停混凝土澆筑,立即對其加固。并設鋼筋工看筋,對踩壞、變形的鋼筋及時進行修復、調直;對于松扣的鋼筋重新綁扎。
(10)在施工縫處繼續澆筑時,應清除施工縫處松動的石子和浮漿,并提前一天灑水潤濕,但不得存有積水。
(11)注意砼的早期養護,若早期養護開始時間較遲,則可能抑制砼膨脹。一般常溫下,砼澆筑后表面抹平后即用一層塑料薄膜覆蓋于砼表面封閉養護8~12h,則應進行澆水養護。夏季白天每2小時灑一次水,若氣溫較高,澆水時間可以適當縮短,晚上每4小時澆水一次。必須保證砼的濕潤養護,養護期內要保持外露砼表面呈濕潤狀態。養護期不小于14天。
(12)試塊制作養護:照規范要求留置試塊,頂板等需要早拆模板的部位,要留置相同數量的同條件養護試塊。制作完畢的試塊一晝夜后拆模,在溫度為20℃±3℃和相對濕度為90%以上的潮濕環境下養護不少于28天。
a每拌制100m3的同配合比砼,其取樣不得少于一組。
b每工作班拌制的同配合比的砼,其取樣不得少于一組。
c當預計要提前拆除梁板等結構的承重模板時,必須留置與現場同條件養護的試塊以作為依據。
d對于抗滲砼試塊應按以下規定留置。
連續澆筑砼量為500m3 以下時,應留兩組抗滲試塊,每增加250-500m3 增留兩組。
(13)雙層鋼筋網片的底板,設如下圖所示的鋼筋馬蹬,馬蹬直接焊于上下鋼筋網片上,避免馬蹬下墊塊被壓碎而形成滲水點。

(14)在抗滲砼中的對拉螺栓,中間應加設-2×60×60mm鋼板止水片,止水片與對拉螺栓兩面滿焊,如下圖所示。

(15)結構變形或管道伸縮量較小時,穿墻管可采用主管直接埋入砼內的固定式防水法;結構變形或管道伸縮量較大或有更換要求時,應采用套管式防水法。穿墻管較多時應相對集中,采用封口鋼板式防水法。
(16)抗滲砼的配合比,應符合下列規定:
a、水泥用量不得少于320kg/m3;摻有活性摻合料時,水泥用量不得少于280kg/m3。
b、砂率宜為35%~40%,泵送時可增至45%。
c、灰砂比宜為1:1.5~1:2.5。
d、水灰比不得大于0.55。
e、普通抗滲砼坍落度不宜大于50mm。采用預拌砼時,入泵坍落度宜控制在120±20mm,入泵前坍落度每小時損失值不應大于30mm,坍落度總損失值不應大于60mm。
f、摻加引氣劑或引氣型減水劑時,砼含氣量應控制在3%~5%。
g、預拌抗滲砼緩凝時間宜為6~8小時。
(17)施工縫留設應遵守下列規定:
a、墻體水平施工縫不應留在剪力與彎距最大處或底板與側墻的交接處,應留在高出底板表面不小于300mm的墻體上。拱(板)墻結合的水平施工縫,宜留在拱(板)墻接縫以下150~300處。墻體有預留孔洞時,施工縫距孔洞邊緣不應小于300mm。
b、垂直施工縫應避開地下水和裂縫水較多的地段,并宜與變形縫相結合。
c、墻體上的垂直伸縮縫處按設計要求設置橡膠止水帶。
d、墻體上的水平施工縫處設置鋼板止水帶,止水帶沿結構通長設置,封閉交圈。如下圖所示。鋼板必須滿焊,鋼板搭接長度為200mm。

(18)澆筑前應清除施工縫處松動的石子和浮漿,并提前一天灑水潤濕,但不得存有積水。
(19)砼澆筑完畢,特別注意砼的早期養護,若早期養護開始時間不及時,則可能抑制砼膨脹,從而形成結構裂縫,降低砼的抗滲效果。養護時間不得少于14天。
(20)大體積砼防裂縫措施
本工程基礎屬于大體積砼,施工中采取以下措施防止裂縫產生。
1)合理選用砼配合比,這點是非常重要的,盡量選用水化熱低、穩定性好的水泥,并在滿足砼設計強度的前提下盡可能減少水泥用量以減少水泥的水化熱。
2)控制石子、沙子的含泥量不超過1%~3%
3)采用分層連續澆灌或推移式連續澆灌的澆筑方法。每層砼攤鋪厚度應不大于500mm,采用分層澆灌分層振搗,在下一層砼初凝前接著澆灌上一層砼確保砼振搗密實。
4)摻入適量微膨脹劑,使砼得到補償收縮。
5)使用聚丙烯纖維抗裂防水砼,能大幅度提高砼的抗裂性和抗沖擊性。
6)采用一層塑料薄膜兩層草袋作保溫潤濕養護。草袋上下錯開,搭接壓緊,交接處包裹,形成良好保溫層,從而使混凝土表面保持較高的溫度,減少表面熱的擴散,延長散熱時間,使內外溫差小于25℃。充分發揮混凝土強度的潛力和材料松弛特性,避免裂縫。
11、砌體工程
砌筑前首先做好原材料的檢驗,并作砂漿試配,其次放出軸線和門窗洞口位置,抄立皮數桿,以控制砂漿灰縫厚度,采用Mu10機紅磚,M5砂漿砌筑。在使用前,應對材料進行報驗,并提前對磚進行澆水濕潤,不得有干磚上墻的現象。砂漿要隨攪隨用,在攪拌好2小時內用完。
砌筑采用一順一丁砌法,砌筑前要先進行試擺。砌筑要求灰漿飽滿度在80%以上,灰縫厚度8-12mm,接槎處灰漿處理干凈,三七墻采用雙掛線操作。
砌筑腳手架用普通鋼管搭設,腳手架眼的留設要遵守施工規范的規定。
12、腳手架工程:
(1)、回填土至基礎面,碾壓夯實后,下面鋪板,支承立桿受力。
(2)、腳手架滿堂搭設立桿間距1m×1m,雙排架立桿間距1.5m×1.5m,橫桿步距1.5m。每隔兩排腳手架均搭設剪刀撐,搭設高度隨構件高逐漸增高。
(3)、在腳手架外側設人行斜道(或爬梯)扶手,按規定設置安全網,安全護欄;安全檔板。
(4)、腳手架有良好的防電、避雷裝置;鋼腳手架應離高壓線保持規范地外的距離。
(5)、搭設過程中當桿件長度不夠,需要延伸時,不宜采用一字扣件對接;采用搭接,搭接長度不應小于0.8m,且應采用雙扣件鎖緊,用來連接的兩種扣件間距不應大于0.6m。且端部扣件蓋板邊緣至桿端不小于100mm。
(6)、腳手架搭設過程中,應設專人統一指揮。按放線尺寸鋪設墊板,標定立桿位置,并最下面,設掃地桿固定,掃地桿設在立桿底端100~300mm處。
13、鋼結構施工
(1)鋼結構制作
(1放樣、號料及零件加工
(2放樣和號料應根據工藝要求預留制作和安裝時的焊接收縮起拱余量及切割、刨邊和銑平等加工余量。
(3需要放樣的工件應根據施工圖進行放樣,要仔細核查圖紙上的幾何尺寸和分部尺寸之間的連接尺寸放出1:1節點大樣。
(4號料應有利于切割和保證零件質量。
(5型鋼下料時應采用手工火焰切割。
(6節點板及各種鋼板零件下料均采用斗自動的切割機。
(7氣割前應將鋼材切割區域表面的鐵銹、污物等清除干凈,氣割后應清除熔渣和飛濺物。
(2)矯正、成型、制孔
(1冷矯正和冷彎曲的最小曲率半徑和最大彎曲矢高,應該符合規范定。
(2矯正后的鋼材表面,不應有明顯的凹面或損傷,劃痕深度不得大于0.5mm。
(3當零件采用熱加工成形時,加熱溫度宜控制在900-1000攝氏度,碳素結構在溫度下降到700攝氏度以前完成加工。
(4同一構件上螺栓孔的孔距應符合下表要求(68頁)(5螺栓孔如有超差的情況,不得采用鋼塊填塞,可采用與材質相匹配的焊條補焊后重新制孔。
(3)組裝
(1組裝前零件、部件應經檢查合格,連接接觸面和沿焊縫邊緣每邊30-50mm范圍內鐵銹、毛刺、污垢等應清除干凈。
(2板材、型材的拼接,應在組裝前進行,構件的組裝應在部件組裝、焊接矯正后進行。
(4)焊接
(1焊接時,不得使用藥皮脫落或焊芯生銹的焊條。
(2焊條使用前應按產品說明書規定的烘焙時間和溫度進行烘焙。
(3施工前,焊工應對接頭質量及施焊區的處理情況進行復查,當不符合要求時,應經修整合格后方可施焊。
(4焊接時,焊工應遵守焊接工藝,不得自由施焊及在焊道外的母材上引弧。
(5角焊縫轉角處宜連續繞角施焊,起落弧點距焊縫端部宜大于10mm,角焊縫端部不設置引弧和引出板的連續焊縫,起落弧點距焊縫端部宜大于10mm,弧坑填滿。
(6在冬季施工時,焊接施工應在室內進行或有防雨、防風、防雪措施的地方進行,構件進行預熱及后熱。
(7多層焊接宜連續施焊,每一層焊道焊完后應及時清理檢查清除缺陷后再焊。
(8定位焊所采用的焊接材料型號,應與焊件材質相匹配,焊縫厚度不宜超過焊縫厚度2/3,且不應大于8mm,焊縫長度不宜小于25mm,定位焊位置應布置在焊道以內,并應由持合格證的焊工施焊。
(9焊縫出現裂紋時,焊工不得擅自處理,應查清原因,訂出補工藝后方可處理。
(10焊縫同一部位的返修次數,不宜超過兩次。當超過兩次時,應按返修工藝進行。
(11焊接完畢,焊工應清理焊縫表面的熔渣及兩側的飛濺物,檢查焊縫外觀質量。檢查合格后應在工藝規定的焊縫及部位打焊工鋼印。
(5)除銹、刷油
(1鋼材的表面處理采用手工除銹
(2構件表面的毛刺、電焊藥皮、飛濺物、灰塵在除銹前應清除干凈。
(3除銹完的鋼構件,當天必須涂上底漆。構件應涂四遍油漆,其中包括兩遍防銹底漆,兩遍面漆。
(4涂漆時應將涂料攪拌均勻才能施工,并且在下雪、下雨或霧天時不能在露天作業。
(5涂裝時環境溫度和相對濕度應符合涂料產品說明書要求,當產品說明書無要求時,環境溫度宜在5-38攝氏度之間,相對濕度度不應大于85%,構件表面結露時不得涂裝,涂裝后4小時內不得淋雨。
(6施工圖中注明不涂裝的部位不得涂裝,安裝焊縫留出30-50mm暫不涂裝。
(7涂裝應均勻,無明顯起皺、流掛,附著應良好。
(8涂裝完畢后,應在構件上標注構件的原編號,大型構件應標明重心、位置、定值標記及重量。
(6)鋼結構安裝
(1安裝前準備
A構件進場前,現場應符合要求。
B鋼結構出廠驗收
對照設計文件,依據GB50205-95規范對所有構件驗收。
a、安裝單位由專人負責構件驗收。
b、每件構件有合格的構件出廠合格證。
c、所有的構件有材質證明書或材質復驗報告單。
d、所有構件應有正確、清晰的編號。
C鋼結構運輸
a、必須有專人負責運輸,保結構文明裝卸,不超載、運輸不滑動、不變形、標記油漆不損壞。
b、構件的出廠順序應由安裝單位根據安裝的先后順序決定。
c、構件同廠前構件正確的編號,統一堆放。
d、小件應在驗收后打捆運輸。
e、現場構件分編號堆放,并堆放整齊,防止變形。
f、加工廠裝卸構件前對構件進行復檢、運輸、堆放出現的構件變形及損壞等缺陷須進行修復。
D基礎驗收
a、鋼支架基礎表面地腳螺栓周圍必須鑿毛。
b、鋼支架及地腳螺的中心線必須標出。
c、每根小柱子砼側面必須給出水準標高。
d、地腳螺栓檢查清理干凈無損壞。
e、每根地腳螺栓配齊螺母。
f、土建測量資料及實體相統一。
g、螺栓中心偏差實測值,螺栓頂部標高偏差值實測值。
h、監理認可的工序交接。
I、場地驗收:臨時設施場地必須平整、夯實無坑洼。
j、座漿法配墊板,在柱砼基礎設置墊板部位,鑿出座板,鑿出后用水清洗,沿坑涂一層薄的水泥漿結合層,用高標號、早強、塊硬、微膨脹澆筑水泥砂漿,砼表面低于墊板2.5mm。
(7)安裝
(1墊板應設置在靠近地腳螺栓的柱腳底板加勁板或柱肢下,每根地腳螺栓,側應設1-2組墊板,每組墊板不得多于5塊。墊板與基礎和柱底面的接觸面應平整、緊密。當采用成對斜墊板時,其疊合長不應小于墊板長度的2/3。二次灌將前,墊板間應焊接固定。
(2 該工程鋼構件吊裝均為工藝鋼結構,主要為管廊鋼支架、梯子、欄桿。
(3采用墊板時應采用無收縮砂漿。吊裝前砂漿試塊強度應高于混凝土強度一個等級。
(4鋼結構安裝在形成空間剛強度單元后,應及時對柱底板和基礎頂面的空隙采用細石混凝土二次澆灌。
(5鋼結構安裝前,應對鋼構件質量進行檢查。鋼構件中的變形、缺陷超出允許偏差時,應進行處理。
(6鋼結構主要構件安裝就位后,應立即進行校正、固定。當天安裝的鋼構件應形成穩定的空間體系。
(7鋼結構安裝、校正時,應根據風力、溫差、日照等外界環境和焊接變形等因素的影響,采取相應的調整措施。
(8鋼構件的長度尺寸應包括焊接收縮余量和荷載使柱產生的壓縮變形值。
(9安裝使用的臨時螺栓,在每個節點上穿入數量,不應少于安裝孔總數的1/3,且不應小于2個。
(10普通螺栓連接的每個邊不得墊2個及以上的墊圈,并不得采用大螺母代替墊圈螺栓擰緊后,外露螺紋不應小于2螺距。
(11焊接和螺栓并用的連接,當設計無規定時,應先栓后焊。
(12鋼結構在吊裝過程中和吊裝完成后對破損的油漆及時涂刷。
(13焊接部位必須將該處因焊接原因而損壞的油漆處理干凈及手工除銹方能補刷底漆,待底漆干膜后,方能進行下道工序施工。
(14單項鋼結構施工完成后,應補刷一道防銹漆及兩道面漆。
五、成品、半成品保護措施
1、各類物資的搬運、貯存、維護應根據物資的特性,選擇適當的運輸工具,對于易燃、易碎的物品要有特殊保護,物質貯存場所環境應滿足物質的特性。
2、水泥進場后要入水泥庫,庫房要防雨、防潮,使用時要按先來的先用、后來的后用的順序使用。
3、各種成品、半成品材料進場后要妥善保管,確保其不變質。
4、施工現場的鋼筋,在雨天時上面應加蓋塑料布,底下放枕木,將鋼筋墊起,避免鋼筋污染、銹蝕。
5、現場的機械電氣設備應有防雨罩,雨天時上面覆蓋塑料布,要經常檢查、維修、保養。
6、現場的周轉料具派專人清理、回收、模板表面應涂刷隔離劑,堆放整齊,卡扣上的螺絲應經常浸油,保證其能轉動。周轉料具上的砼等雜物必須清理干凈。
7、砼在澆筑過程中,應派專人檢查模板、鋼筋,保證其滿足設計及規范要求,為防止踩踏鋼筋,在板上安裝專用馬道,便于施工行走。砼表面應覆蓋麻袋或塑料薄膜,澆水養護。砼板在初凝前將通行口攔住,防止上人踩踏,拆模時間控制在初凝24小時后,防止棱角損壞,預留孔模外纏油氈紙,防止拔模時被破壞。
8、加強對施工人員的宣傳教育,和現場的督促檢查,增強每個人的成品保護意識,做好成品保護工作。
六、 施工保證措施
1、堅持工程進度服從工程質量,確保用科學的施工組織設計指導施工生產,作到成一項、優一項,達到合理的進度、滿意的質量。
2、加強質量一票否決權的作用,落實好賦予質量工程師的三項權利,即:責令停工權、獎優罰劣權、驗工記價權,確保質量管理人員責、權、利統一,起到名副其實的作用。
3、重視細部施工質量。質量通病的防止是工程質量創優的重點,通過QC小組活動增設質量管理點等方法,達到無質量通病工程。
4、嚴把材料質量關,物資部門要嚴格執行《物資采購程序》,對其采購的建筑材料、構配件和設備的質量承擔相應的責任,如因使用不合格材料而造成質量事故的要追究物資部門責任。
七、質量保證措施
1、工程所用的原材料、成品、半成品,油漆必須具有出廠合格證,鋼筋、水泥、混凝土外加劑、砂、石還應有合格的復檢報告。
2、混凝土攪拌要做到計量準確,并隨時關注天氣情況,認真填寫施工記錄。遇大雨天氣,禁止澆筑混凝土。混凝土澆筑前,應辦理混凝土澆灌申請。
3、加強技術工作復核與質三檢制度,即“自檢、互檢、交接檢”,各項工序施工前及時報驗。嚴格工序交接制度的執行和隱蔽工程的驗收檢查,未經檢查驗收的隱蔽工程不允許進行下道工序的施工。
4、加強現場質量檢查,發現問題,及時處理。
5、各項工序開工前進技交底,實行質量一票否決制,對于不合格的工序決不放過,確保工程質量優良。
6、加強資料管理,資料管理要真實,及時、全面,必須與工程同步進行。
7、現場所用測量儀要滿足精度要求,并有鑒定標簽,現場基準點做好保護工作,嚴格控制建筑物主軸線、標高。
8、技術和質量保證體系見下圖:
八、安全保證措施
1、所有進場工人上崗前,均需接受安全教育,提高安全意識,進入現場要戴好安全帽。
2、所有施工人員必須戴好安全勞動保護用品。高空作業必須系安全帶,洞口處應設安全網及防護欄。
3、所有電氣設備均需設漏電保護裝置,按規定接零、接地。配電箱、電焊機等應有防雨措施,機電設備要定期檢查維修。下班后配電箱要拉閘上鎖。
4、現場準備消防器材,派專人看管。
5、設專人定期檢查現場安全情況,發現問題,立即解決,負責落實到人。
6、夜間施工要有足夠的照明設備,做好現場防火、防雨、防中毒等事故發生。
7、基坑四周必須設置封閉式欄桿,上下基坑須搭設梯道,基坑周圍不得任意堆放材料,基坑邊2m內禁止行駛汽車。
8、作到工完料清,多余部分及時撤離現場,垃圾運至指定地點。
9、堅持高任務必須高安全措施和要求,經常組織有關人員檢查安全生產情況,發現問題及時解決。
10、安全保證體系見下圖:
九、洪水季施工措施:
1、防止基坑灌水,挖坑時應將其周圍堆出土堤。坑底設排水溝和集水井。并準備3臺水泵,以備抽水之用。
2、施工人員配備雨衣、雨褲、雨靴等用具。
3、注意洪水期的安全生產。洪水季施工期間,要保證配電箱和場內電器設備不進水。現場內配電箱距地面1.5米。雨后應對一切外用照明、電器設備、腳手架等組織專人檢查。確認安全可靠方可交待使用。
十、文明施工:
1、按照《中冶天工建設公司企業形象及文明施工標準》和金特鋼鐵有限公司的相關要求實施文明施工。
2、要求所有參建人員必須樹立文明施工的思想,時時注意以身作則,處處樹立文明施工形象。
3、施工現場必須設立明顯的文明施工、安全生產標語,設立施工平面布置示意圖,標明主要的施工道路、材料堆放、加工場地。材料堆放場地應分品種、規格設立標識牌,以便于區分、檢查和使用。
4、現場各種施工機械要懸掛安全操作規程標牌。
5、現場設立文明施工標牌,要求現場人員必須認真學習文明施工條例,不能強行施工、野蠻施工。注意自身文明形象,不能赤腳進場,不得在現場隨意大小便。
6、現場排水通暢,無積水,建筑垃圾要集中堆放,及時外運。
7、設專人負責現場清潔工作。
8、各類材料分區分類堆放,整齊安全,專人保管。各類材料標牌齊全、整潔,小型機具掛牌、噴出標志字樣。設置防潮、防雨、防銹蝕設施。
9、建立消防制度措施,配置滅火裝置,建立動火審批手續和動火監護。工地應注意用火安全,火爐由專人看管,日夜值班,現場必須配備滅火器。
10、進場人員除應遵守有關國家法律、法規,還應遵守廠紀廠規。進場人員都必須組織學習廠紀廠規,并制定明確的獎、懲制度,并嚴格落實。施工人員應自覺遵守安全生產法律、法規和安全生產管理制度。
十一、環境保護措施
1、 遵守中華人民共和國環境保護法及業主廠容環境管理的有關規定,防止施工過程對環境污染,本工程環境管理體系活動按GB/T24001(idt ISO14001)環境管理體系的要求進行。
2、 環境策劃
在施工過程中,施工現場設專人監管,控制現場各種粉塵、廢氣、廢水、有毒有害廢棄物對環境的污染和危害。
3、為達到整個施工過程中業主及社會相關各方對環境管理滿意,對下述環境因素予以重點考慮:
1)對大氣污染的防治
(1)項目應盡量避免采用在施工過程中會產生有毒、有害氣體的建筑材料。特殊需要時,必須設有符合規定的裝置,否則不得在施工現場熔融瀝青或者焚燒油氈、油漆以及其他會產生有毒、有害煙塵和惡臭氣體的物質。對于施工機械要采取防護措施,控制所排出的煙氣的影響范圍。
(2)混凝土及砂漿采用集中攪拌,水泥運輸采用密封式罐車。
(3)禁止將有毒有害廢棄物作土方回填。
2)對水污染的防治
(1)對建筑施工中產生的泥漿應采用泥漿處理技術,減少泥漿的數量。
(2)妥善處理泥漿水和生活污水、水泵排水抽出的水也要經過沉淀。
(3)洗車區應設沉淀池再與下水接通。
(4)食堂下水應經排油池處理方可排出。
(5)未經處理的含油、泥的污水不得直接排入城市排水設施和河流。
(6)液壓潤滑管道的化學清洗過程全部采用封閉循環措施,對外界排放的廢液經無害處理后,排放至指定地點。
(7)水管道沖洗水經沉淀、脫油后排放至指定地點。
3)對道路污染的防治
(1)在施工區域進出口設立沖水區,用沖水機沖洗車輛輪胎。
(2)裝載建筑材料、垃圾或渣土的車輛,應采取防塵土飛揚、灑落或流溢的有效措施。
4)對噪音污染的防治
防止施工噪聲污染,施工現場應遵照《建筑施工場界噪聲限值及其測量方法》(GB12523-90)制定降噪的相應制度和措施。
(1)正確選用噪音小的工藝,減少噪音的強度。
(2)對產生噪聲的施工機械采取控制措施。包括打樁錘的錘擊聲以及其他以柴油機為動力的建筑機械、空壓機、震動器等。
(3)在可能條件下將電鋸、柴油發電機等盡量設置在離居民區較遠的地點,降低擾民噪聲。
(4)夜間施工應減少指揮哨聲、大聲喊叫。要教育職工減少噪聲,注意語言文明。
5)對光污染的防治
(1)現場晚間施工照明不得照向居民區。
(2)夜間施工中的電弧光如照向居民時,應采取遮擋措施。
6)對垃圾污染的防治
(1)要盡量減少建筑垃圾的數量,建筑垃圾應指定堆放地點,并隨時進行清理。
(2)運輸建筑材料、垃圾和工程渣土的車輛應采取有效措施,防止塵土飛揚、灑落或流溢。
(3)要采取有效措施控制施工過程,混凝土和砂漿集中攪拌。
(4)建筑施工現場的廁所,應按現場人員數量考慮廁所的設置,要求封閉嚴密,通風良好,定期清除糞便。
十二、職業健康防護措施:
1. 項目部要采取防暑、防凍、消毒、防毒的措施。加強職工健康防護。
2、衛生防疫管理措施:衛生防疫是涉及現場人員身體健康和生命安全的大事。要防止傳染病和食物中毒事故發生,提高衛生、防病工作。
3、施工現場不設置職工宿舍,現場應準備必要的醫務設施。在辦公室內顯著地點張貼急救車和有關醫院電話號碼,根據需要制定防暑降溫措施,進行消毒、防病工作。
4、食堂管理應從組織施工時就進行策劃。食堂應按照現場就餐人數安排食堂面積、設施以及炊事員和管理人員。食堂衛生必須符合《中華人民共和國食品衛生法》和其他有關衛生管理規定的要求。炊事人員應經定期體格檢查合格后方可上崗。炊具應嚴格消毒,生熟食應分開。原料和半成品應經檢驗合格,方可采用。
5、食堂不得出售酒精飲料。現場人員在工作時間嚴禁飲用酒精飲料。要確保現場人員飲水的供應,炎熱季節要供應清涼飲料。